Recent patent filings show Honda to be working on a clutch-by-wire system for its motorcycles. The system uses hydraulic and electronic principles to remove a direct link between the clutch lever and the clutch itself.
- Likely to be used on more premium models if it comes into production
- Features a conventional clutch lever
- Could be used in conjunction with rider aids
Honda is one of the few manufacturers that has been innovating in the transmission department when it comes to motorcycles. Sure, quickshifters and slipper clutches have become fairly commonplace recently, but the basic concept of a 5 or 6-speed sequential gearbox has remained fairly unchanged for decades now. Except for Honda, who has experimented with a semi-automatic dual-clutch system. Now, the brand seems to be working on a groundbreaking clutch-by-wire system for its motorcycles.
Honda clutch-by-wire: design
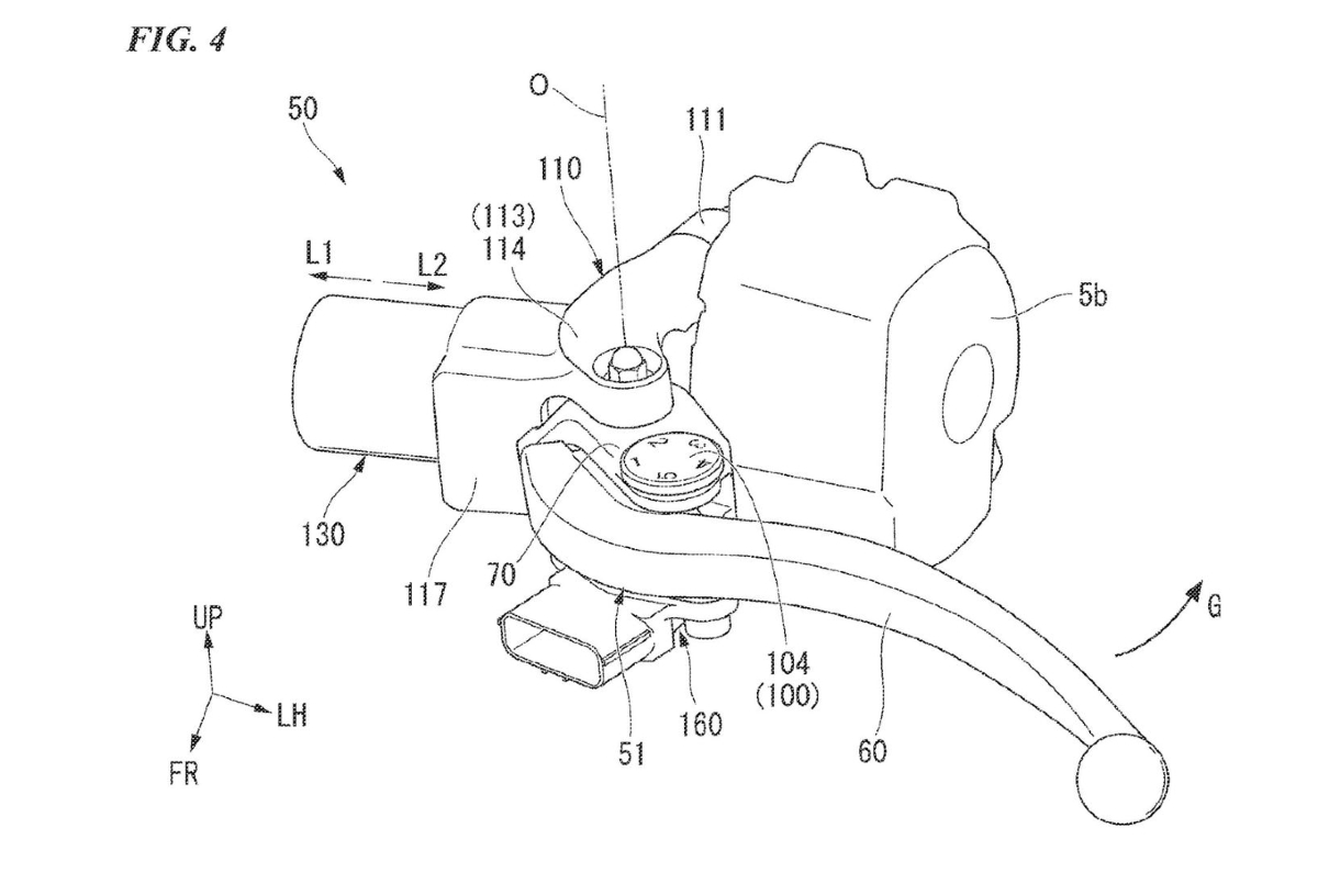
Patent drawings show a conventional handlebar-mounted clutch lever, whose position is electronically monitored by a position sensor. This reading is then sent to a hydraulic control unit, which also receives a whole bunch of other information including vehicle speed, engine rpm and throttle opening. On the basis of all this data, the control unit actuates the clutch.
The important bit here is that in contrast to convention, hydraulic pressure is used to engage the clutch plates rather than disengage them. This means that in the event of a failure, the engine and transmission will be disconnected, rather than impossible to disengage, which is a good thing.
Since there is no longer a physical link between the lever and the clutch, Honda is free to make the lever action as light as it wants. But riders will still expect a familiar feel at the lever, so the firm’s patents also include a “reactive force generation device” that acts against the lever, giving the sort of feedback that you’re used to. We expect the action to be lighter than usual but without feeling alien.
Honda clutch-by-wire: potential models
The rampant forward march of technology is inevitable, but this system already has its naysayers, with many feeling that it’s unnecessarily complicated and adds too much to the production cost. They’re probably right about the latter – this system is undoubtedly more expensive to produce than a cable-actuated system or even a conventional hydraulic clutch. Which is why it will probably be reserved to Honda’s more premium models like the manual versions of the Gold Wing and Africa Twin - if it ever makes it to production.
Honda clutch-by-wire: applications
The tradeoff to all that complexity are increased applications. In addition to offering lighter clutch action, this clutch-by-wire system could work in conjunction with other rider aids like launch control and a quickshifter to aid performance or smoothness. It could also facilitate an anti-stall system of sorts, to save you some embarrassment. One also can’t rule out the possibility of Honda offering a mode where the clutch is controlled completely automatically, with no user input required at all. This would certainly make crawling forward in slow-moving traffic a whole lot less painful.
Also See
Honda working to expand swappable battery platform, developing home charger
Upcoming BSA motorcycles to get a 650cc single-cylinder engine




